贵州路路鑫特种门业有限公司为您免费提供
贵阳防火卷帘门
,贵阳防火门,贵阳钢质防火门等相关信息发布和资讯展示,敬请关注!
客户服务热线:
18798098781
网站首页
关于我们
产品展示
企业形象
成功案例
新闻中心
联系我们
热门搜索:
钢木质防火门
贵阳防火门
贵阳特种门
新闻分类
新闻中心
常见问题
联系我们
贵州路路鑫特种门业有限公司
全国热线:
18798098781
手 机:18798098781
公司地址:贵州省贵阳市白云区金银路景宏工业园
新闻资讯
您所在的位置:
首页
>
常见问题
>
防火卷帘门的规范及分类
防火卷帘门的规范及分类
文章来源:www.gzxinan.cn 作者:
贵阳防火门厂家
发表时间:2022-04-11 00:00:00
防火卷帘门
的规范及分类
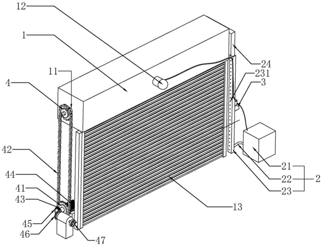
防火卷帘是一种适用于建筑物较大洞口处的防火、隔热设施,产品在设计上采用了卷轴内藏的特点,具有结构合理紧凑。防火卷帘帘面通过传动装置和控制系统达到卷帘的升降。起到防火、隔火作用,产品外形平整美观、造型新颖,具有钢性强。
防火卷帘门
广泛应用于工业与民用建筑的防火隔断区,能有效地阻止火势蔓延,保障生命财产安全,是现代建筑中不可缺少的防火设施。 目录 分类及作用 防火卷帘门使用范围: 防火卷帘门在使用过程中注意的操作细节
防火卷帘门分类
1. 按材质分
2. 按安装形式
3. 按开启方向
4. 1级,耐火时间1.50h
5. F2级,耐火时间2.0h
6. F3级,耐火时间3.00h
7. F4级,耐火时间4.00h
防火卷帘门分类
1. 按材质分
2. 按安装形式
3. 按开启方向
4. 1级,耐火时间1.50h
5. F2级,耐火时间2.0h
6. F3级,耐火时间3.00h
7. F4级,耐火时间4.00h
相关标签:
上一条:
防火卷帘门的安装要求和使用说明
下一条:
防火卷帘门在使用过程中注意的操作细节
相关新闻
防火卷帘门的耐火极限是如何划分的?
2026-03-06
钢质防火门的关键性能有哪些?
2026-01-14
防火卷帘门的安装及维护要点具体有哪些?
2026-01-04
挡烟垂壁的常见问题及解决方法
2025-12-15
相关产品
贵阳挡烟垂壁
贵州挡烟垂壁
挡烟垂壁
技术支持: